产品主要特点
性能
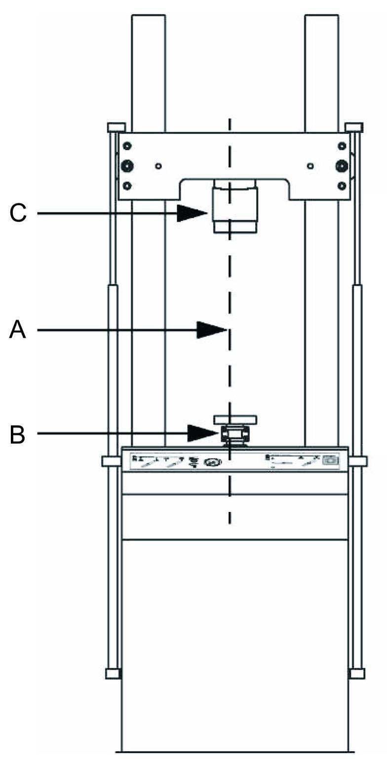
大直径中空式立柱框架增强了系统刚度和固有频率获取更高的性能
精确
可调节的跟随滑动轴承衬垫,去除死去降低摩擦避免轴向-扭转之间的串扰
革新
具有专利技术的轴扭组合载荷传感器产品提升刚度和敏感度,降低耦合干扰
可靠
独有的轴扭组合联轴器实现精确轴线对中和同轴度
产品对比
809.02 型
- 轴向载荷加载能力: 25 kN (5.5 kip)
- 扭转载荷加载能力: 220 N-m (2,000 in-lbf)
- 立柱间距: 533 mm (21 in)
- 立柱直径:127 mm (5 in)
- 最大垂直工作空间: 1155 mm (45 in)
- 系统整体高度: 2891 mm (114 in)
809.05 型
- 轴向载荷加载能力: 50 kN (11 kip)
- 扭转载荷加载能力: 550 N-m (5,000 in-lbf)
- 立柱间距: 533 mm (21 in)
- 立柱直径:127 mm (5 in)
- 最大垂直工作空间: 1155 mm (45 in)
- 系统整体高度: 2891 mm (114 in)
809.10 型
- 轴向载荷加载能力: 100 kN (22 kip)
- 扭转载荷加载能力: 1100 N-m (10,000 in-lbf)
- 立柱间距: 533 mm (21 in)
- 立柱直径:127 mm (5 in)
- 最大垂直工作空间: 1155 mm (45 in)
- 系统整体高度: 2891 mm (114 in)
809.25 型
- 轴向载荷加载能力: 250 kN (55 kip)
- 扭转载荷加载能力: 2,200 N-m (20,000 in-lbf)
- 立柱间距: 635 mm (25 in)
- 立柱直径:152 mm (6 in)
- 最大垂直工作空间: 1464 mm (57 in)
- 系统整体高度:3412 mm (134 in)
809.50 型
- 轴向载荷加载能力: 500 kN (110 kip)
- 扭转载荷加载能力: 5,500 N-m (50,000 in-lbf)
- 立柱间距: 762 mm (30 in)
- 立柱直径:191 mm (7.5 in)
- 最大垂直工作空间: 1638 mm (64 in)
- 系统整体高度:4020 mm (158 in)
809.60 型
- 轴向载荷加载能力: 1,000 kN (220 kip)
- 扭转载荷加载能力: 11,000 N-m (100,000 in-lbf)
- 立柱直径:229 mm (9 in)
- 立柱间距、测试空间等可定制;
定制型号
- 加载空间与加载能力均可定制,请联系MTS系统公司予以确认;
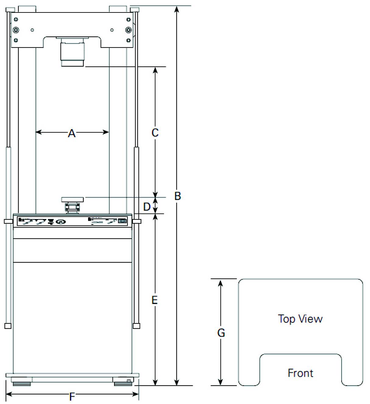
完整产品信息

框架型号 |
A |
B |
C* |
D* |
E |
F |
G |
319.02 |
533 mm (21 in) |
2891 mm (114 in) |
1155 mm (45 in) |
130 mm (5 in) |
1240 mm (49 in) |
1000 mm (39 in) |
762 mm (30 in) |
319.05 |
533 mm (21 in) |
2891 mm (114 in) |
1155 mm (45 in) |
130 mm (5 in) |
1240 mm (49 in) |
1000 mm (39 in) |
762 mm (30 in) |
319.10 |
533 mm (21 in) |
2891 mm (114 in) |
1155 mm (45 in) |
130 mm (5 in) |
1240 mm (49 in) |
1000 mm (39 in) |
762 mm (30 in) |
319.25 |
635 mm (25 in) |
3412 mm (134 in) |
1464 mm (57 in) |
193 mm (8 in) |
1278 mm (50 in) |
1238 mm (49 in) |
838 mm (33 in) |
319.50 |
762 mm (30 in) |
4020 mm (158 in) |
1638 mm (64 in) |
298 mm (12 in) |
1403 mm (55 in) |
1416 mm (56 in) |
940 mm (37 in) |
项目 |
参数指标 |
框架型号 |
MTS 319系列 |
十字头提升 |
液压 |
十字头位置锁定 |
液压 |
夹具控制器 |
液压 |
伺服阀阀块(HSM) |
MTS 298.12 型,具有高压/低压、开/关控制 |
最大流量 |
114LPM |
轴向作动缸型号 |
MTS 244 系列,框架集成型 |
标准轴向位移量 |
150 mm (6 in) |
扭转作动缸型号 |
MTS 215 系列,框架集成型 |
标准扭转角位移量 |
静态:+/-50 degrees, 动态:+/-45 degrees |
紧耦合蓄能器 |
MTS 111 型 |
框架自重(不包括任何附件和夹具等) |
|
319.02 |
1100 kg (2424 lb) |
319.05 |
1200 kg (2646 lb) |
319.10 |
1300 kg (2866 lb) |
319.25 |
1900 kg (4189 lb) |
319.50 |
3100 kg (6834 lb) |
319.60 |
定制 |

框架刚度 (公制)
框架型号 |
框架 (A) |
活塞杆(B) |
载荷传感器 (C) |
|||
轴向*(N/m) |
扭转 |
轴向*(N/m) |
扭转 |
轴向(N/m) |
扭转 |
|
319.02 |
2.6x108 |
7.9x106 |
1.1x109 |
4.3x104 |
2.6x109 |
6.8x105 |
319.05 |
2.6x108 |
7.9x106 |
2.6x109 |
1.9x105 |
4.7x109 |
1.4x106 |
319.10 |
2.6x108 |
7.9x106 |
2.6x109 |
1.9x105 |
3.3x109 |
1.1x106 |
319.25 |
5.6x108 |
1.3x107 |
4.3x109 |
3.5x105 |
8.2x109 |
4.3x106 |
319.50 |
8.8.x108 |
2.6x107 |
6.4x109 |
1.6x106 |
1.2x1010 |
9.0x106 |
319.60 |
1.2x109 |
4.5x107 |
6.6x109 |
1.7x106 |
1.9x1010 |
2.5x107 |
框架刚度 (英制)
框架型号 |
框架 (A) |
活塞杆(B) |
载荷传感器 (C) |
|||
轴向*(lbf/in) |
扭转 |
轴向*(lbf/in) |
扭转 |
轴向 (lbf/in) |
扭转 |
|
319.02 |
1.5x106 |
7.0x107 |
6.3x106 |
3.8x105 |
1.5x107 |
6.0x106 |
319.05 |
1.5x106 |
7.0x107 |
1.5x107 |
1.7x106 |
2.7x107 |
1.3x107 |
319.10 |
1.5x106 |
7.0x107 |
1.5x107 |
1.7x106 |
1.9x107 |
1.0x107 |
319.25 |
3.2x106 |
1.2x108 |
2.5x107 |
3.1x106 |
4.7x107 |
3.8x107 |
319.50 |
5.0x106 |
2.3x108 |
3.7x107 |
1.4x107 |
7.0x107 |
8.0x107 |
319.60 |
7.0x106 |
4.0x108 |
3.8x107 |
1.5x107 |
1.1x108 |
2.2x108 |
服务与支持
我们的专家随时随地提供帮助,帮助企业正常运转。
相关产品、附件或备件
需要查找其他产品信息?
前往解决方案查找页面