产品主要特点
便捷
符合人机工效的T型槽台,便于操作,快速实现作动缸和样件安装
高精度
可在两个位置安装作动缸——十字头位置或底置集成安装,根据试验需求实现精确加载
安全
液压自动锁定十字头位置,可设置安全触发互锁
宽泛
优质具灵活性的加载框架产品满足从一般材料力学性能测试到车辆零部件耐久测试的各类应用
产品对比
322.21
- 最大额定加载能力: 100 kN (22 kip)
- 最大样件/夹具空间: 1270 mm (50 in)
- T型台高度: 838 mm (33 in)
322.31
- 最大额定加载能力: 250 kN (55 kip)
- 最大样件/夹具空间: 1575 mm (62 in)
- T型台高度: 864 mm (34 in)
322.41
- 最大额定加载能力: 500 kN (110 kip)
- 最大样件/夹具空间: 2057 mm (81 in)
- T型台高度: 984 mm (39 in)
定制系统
- 框架形式、测试空间均可定制,请联系MTS系统公司业务代表;
完整产品信息
加载框架额定载荷、尺寸和自重
美制单位
|
322.21型 |
322.31型 |
322.41型 |
最大额定载荷能力 |
22 kip |
55 kip |
110 kip |
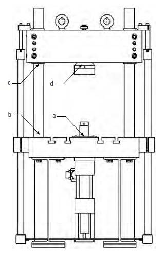
最大垂直工作空间(a)¹ |
50.0 in |
62.0 in |
81.0 in |
立柱之间的宽度(b) |
21.0 in |
25.0 in |
30.0 in |
高度(c) — 含标准立柱² |
98 in |
118.5 in |
144.75 in |
工作台高度(d) |
33.0 in |
34.0 in |
38.7 in |
工作台宽度(e) — 边到边,不含横梁提升装置 |
28.0 in |
34.0 in |
42.0 in |
宽度(f) — 边到边,含横梁提升装置³ |
34.0 in |
40.0 in |
48.0 in |
深度 — 前到后³ |
40.0 in |
40.0 in |
60.0 in |
自重⁴ |
3000 lb |
4500 lb |
8500 lb |
公制单位
|
322.21型 |
322.31型 |
322.41型 |
最大额定载荷能力 |
100 kN |
250 kN |
500 kN |
最大垂直工作空间(a)¹ |
1270 mm |
1575 mm |
2057 mm |
立柱之间的宽度(b) |
533 mm |
635 mm |
762 mm |
高度(c) — 含标准立柱² |
2489 mm |
3010 mm |
3677 mm |
工作台高度(d) |
838 mm |
864 mm |
984 mm |
工作台宽度(e) — 边到边,不含横梁提升装置 |
711 mm |
864 mm |
1067 mm |
宽度(f) — 边到边,含横梁提升装置³ |
864 mm |
1016 mm |
1219 mm |
深度 — 前到后³ |
1000 mm |
1000 mm |
1500 mm |
自重⁴ |
1370 kg |
2050 kg |
3870 kg |
¹ 含661 系列标准载荷传感器,作动缸完全收回时测量,作动缸行程150mm(6in); |
|||
² 底置安装作动缸; |
|
|
|
³ 标准长度工作台上,如果包含液压夹具控制器则可能增加工作台的宽度和深度; |
|||
⁴ 包含液压自锁、液压横梁提升装置和标准尺寸工作台时的自重,不包含任何夹具或者其他附件; |
T 型工作台尺寸
美制单位
|
a |
b¹ |
c |
d |
e² |
f |
g |
h |
332.21 |
28.0 in |
40.0 in |
14.0 in |
20.0 in |
5.0 in |
9.0 in |
4.0 in |
5.0 in |
322.31 |
34.0 in |
40.0 in |
17.0 in |
20.0 in |
6.0 in |
10.0 in |
5.0 in |
5.0 in |
322.41 |
42.0 in |
60.0 in |
21.0 in |
30.0 in |
12.0 in |
12.0 in |
7.0 in |
5.0 in |
T 型工作台尺寸
公制单位
|
a |
b¹ |
c |
d |
e² |
f |
g |
332.21 |
711 mm |
1000 mm |
355.6 mm |
508.0 mm |
127.0 mm |
228.6 mm |
101.6 mm |
322.31 |
864 mm |
1000 mm |
431.8 mm |
508.0 mm |
152.4 mm |
254.0 mm |
127.0 mm |
322.41 |
1067 mm |
1500 mm |
533.4 mm |
762.0 mm |
304.8 mm |
304.8 mm |
177.8 mm |
¹ 可提供更大尺寸的工作台 |
|
|
|
|
|
|
|
² 可选第二作动缸安装位置的距离 |
|
|
|
|

框架的刚度数据
|
变形量¹ |
322.21 22 kip/100 kN |
322.31 55 kip/250 kN |
322.41 110 kip/500 kN |
a-b |
基座 |
0.006 in 0.15 mm |
0.007 in 0.18 mm |
0.008 in 0.20 mm |
b-c |
立柱 |
0.004 in 0.10 mm |
0.006 in 0.20 mm |
0.008 in 0.20 mm |
c-d |
十字头 |
0.005 in 0.13 mm |
0.010 in 0.20 mm |
0.10 in 0.25 mm |
a-d |
整体框架 |
0.015 in 0.38 mm |
0.021 in 0.53 mm |
0.026 in 0.66 mm |
|
弹性系数1 |
1.5 x 106 lb/in 2.6 x 108 N/m |
2.6 x 106 lb/in 4.6 x 108 N/m |
4.2 x 106 lb/in 7.4 x 108 N/m |
¹ 在每个载荷装置达到完全疲劳额定值的情况下确定数据,其十字头在 T 型槽工作台上方高出 50 in (1270 mm); |
||||
根据所使用的作动缸和载荷传感器的类型,变形量存在20%左右的浮动; |
|
|||
要获得最准确的高频测试结果,请使用疲劳额定值大于作动缸额定载荷值的加载框架,例如在322.31载荷框架中配置了100kN的作动缸,其高频性能会超过在322.21载荷框架中配置100kN的作动缸; |
服务与支持
我们的专家随时随地提供帮助,帮助企业正常运转。
相关产品、附件或备件
651 系列环境箱
用于电液伺服测试系统的载荷传感器
需要查找其他产品信息?
前往解决方案查找页面